鼠标(24-cv-09545)
壁式插座(24-cv-09499)
移动主板(24-cv-08703)
原告为国人卖家,是美国专利D944787的所有者,该专利于2021年4月13日申请,2022年3月1日下证。原告一直在其电子商店向美国及伊利诺伊州消费者销售该专利产品。
该专利产品是一种用于手机支架的磁性底座,其核心功能是利用磁性来吸附手机。这种磁性吸附能力可以使手机在放置在底座上时更加稳固,不易滑落。适用于办公桌上、床头等方便观看手机内容,解放双手保持画面稳定,还可用于商业或个人展示手机相关内容。






原告是一家位于得克萨斯州休斯顿的有限责任公司,通过转让拥有美国专利7,532,200 B2。专利相关产品为一种可设置多阶段位移分辨率的鼠标,于2005年1月18日申请,2009年5月12日下证。
该专利披露了一种用于设置鼠标多阶段位移分辨率的装置,包含X-Y轴平面位移检测器、切换电路和鼠标微控制器等部件。专利技术的关键创新点在于通过鼠标上的按钮和/或开关手动调整分辨率,无需在连接的计算机上安装软件驱动程序。






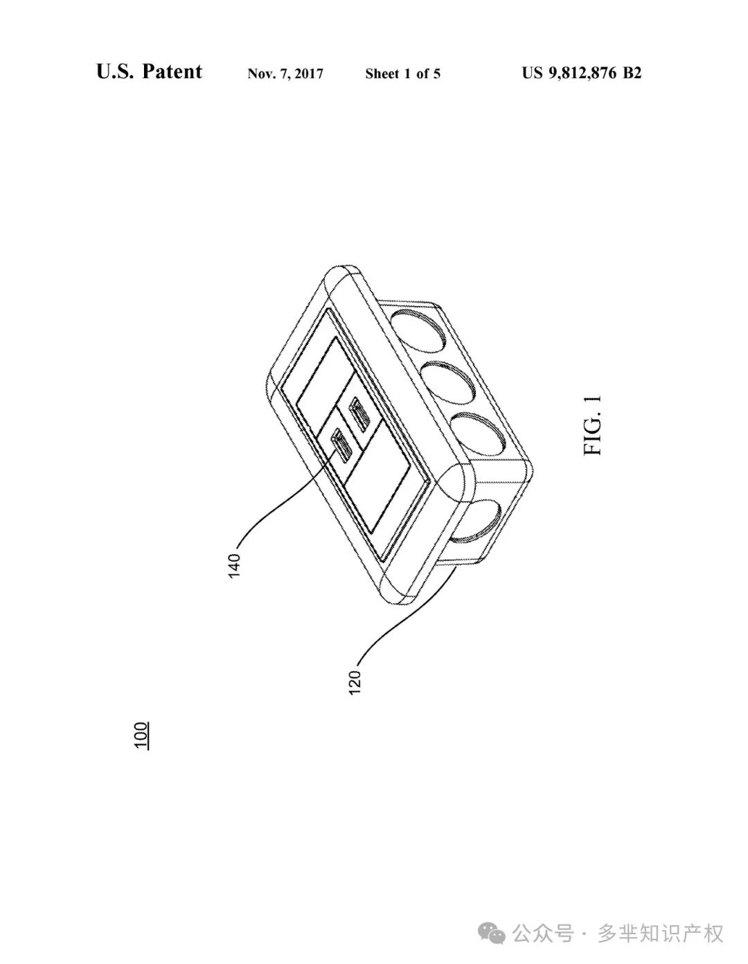
原告是一家位于得克萨斯州达拉斯的有限责任公司,拥有美国专利7,532,200 B2,专利相关产品为一种带有负载检测电路的壁式插座,于2016年1月19日申请,2016年11月7 日下证。
该专利产品是一种壁式插座,包括输入端子、输出端子、电源转换电路和负载检测电路。其输出端子输出直流电压,电源转换电路根据控制信号将输入电压转换为直流输出电压,负载检测电路根据电子设备的识别信号输出控制信号以调整直流输出电压的水平,可满足不同设备的充电需求,提高电源管理效率。






原告是一家位于得克萨斯州休斯顿的公司,拥有相关美国专利RE48,365 E,是该专利的受让人,拥有所有相关权利,并一直在亚马逊等平台上销售该专利的产品。
该产品是一种用于计算机的移动主板,通过便携式配置可服务一个或多个计算机(如个人电脑、笔记本电脑、服务器、移动电话等)。该主板具有内部电路和通信端口,包含一个连接器用于连接计算机箱外部可访问的连接器,连接后可使计算机箱执行计算操作(包括键盘终端和显示功能等)。






以上为本期侵权案件的全部内容,请各位卖家做好排查工作,及时关注最新资讯,关注我们或者加入群聊,第一时间收看TRO案件、侵权预警文章!